华为申请一大波“界”字相关商标!尊界、擎界来了
来源:快科技 编辑:非小米 时间:2023-12-08 16:54人阅读
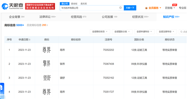
快科技12月8日消息,据天眼查显示,近日,华为技术有限公司申请注册 “尊界”“擎界”商标,国际分类为运输工具、科学仪器,当前商标状态为等待实质审查。
值得一提的是,此前,华为已申请一系列“界”相关商标,包括“问界”“智界”“勇界”“慧界”“筑界”“傲界”“知界”“羿界”等。
此前,2023广州车展期间,余承东透露称,继问界和智界之后,鸿蒙智行还将迎来另外两个“界”,分别来自北汽和江淮。
不出意外,这些“界”字商标,大概率都是为鸿蒙智行生态联盟准备的。
据了解,华为在智能汽车领域有三种合作模式,增量部件及解决方案供应商、HI模式以及近期升级为鸿蒙智行的智选车模式。
其中,鸿蒙智行是目前华为与车企合作最全面、最紧密以及最深入的模式,有最先进的华为智能汽车创新技术加持,智能体验更优,比如问界新M7首发的全向防碰撞系统,智界S7率先推出的代客泊车,以及搭载华为全栈技术解决方案的年终巨献问界M9。
用户可以在华为旗舰店、华为智能生活馆、华为门店以及华为商城等渠道购买到鸿蒙智行旗下的产品,也将在鸿蒙智行统一的用户中心享受交付、售后等一站式服务。
除了技术,鸿蒙智行还有华为在产品、质量、销售、服务、营销等全方面的赋能。
目前,华为与赛力斯推出的问界、与奇瑞推出的智界系列均为鸿蒙智行成员,已经拥有问界M5、问界M7、问界M9以及智界S7等丰富产品。
本站所有文章、数据、图片均来自互联网,一切版权均归源网站或源作者所有。
如果侵犯了你的权益请来信告知我们删除。邮箱:business@qudong.com





