组合档位多达14个!丰田电动汽车模拟手动变速器专利曝光
来源:快科技 编辑:非小米 时间:2023-12-07 15:03人阅读
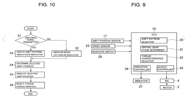
快科技 12月7日消息,据外媒报道,丰田汽车一项关于电动汽车模拟手动挡的专利曝光。

据悉,该系统可以根据电动汽车的电池电量、行驶路况、驾驶习惯等因素,自动调整虚拟齿轮比的模式和数量,从而优化电动汽车的性能和效率。
为了给驾驶员带来更加精准的档位,该模拟手动挡拥有多达14个挡位,比目前10速自动变速箱还多出4挡。
值得一提的是,虽然该变速箱拥有14个档位,驾驶者可以通过电子档杆来选择虚拟齿轮比。
很显然,一次提供14个档位明显是不方便的,因此,丰田为了降低操作的难度,当驾驶者选择了最高档或最低档时,系统会自动切换到下一个或上一个虚拟齿轮组,从而实现更多的档位选择。
例如,当驾驶者切换到6档时,系统将会提示7档或者更高的档位,用户也可以通过自己的驾驶习惯来调整虚拟齿轮比的模式和数量。
丰田汽车表示,该系统可以模拟手动挡汽车的操作,将为电动汽车带来更丰富的驾驶乐趣和选择。
本站所有文章、数据、图片均来自互联网,一切版权均归源网站或源作者所有。
如果侵犯了你的权益请来信告知我们删除。邮箱:business@qudong.com




