华为注册多个“界”字商标:涵盖交通、建筑等多个领域
来源:快科技 编辑:非小米 时间:2023-11-20 18:51人阅读
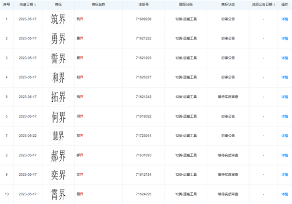
快科技11月20日消息,在问界和智界两个品牌发布后,我们从天眼查APP获悉,华为还申请了包括慧界、享界、揽界、郝界、和界、轩界、腾界、向界等“界字辈”的商标。
据悉,在华为申请的众多“界”字商标当中,不仅涵盖了运输工具,还包含了教育娱乐、颜料油漆、建筑修理、地毯席垫、皮革皮具等众多领域。
其中,共有24个“界”字商标为运输工具类。
部分商标已经处于初审公告,还有一部分商标正在申请与等待实质审查当中。
此前,华为余承东在接受采访时表示:继问界和智界之后,鸿蒙智行还将迎来另外两个“界”,分别来自北汽和江淮。
由此可见,和江淮和北汽合作的品牌应该就会从中取名。
本站所有文章、数据、图片均来自互联网,一切版权均归源网站或源作者所有。
如果侵犯了你的权益请来信告知我们删除。邮箱:business@qudong.com



